Sony đang phát triển phần mềm bảo vệ sự riêng tư cho game thủ
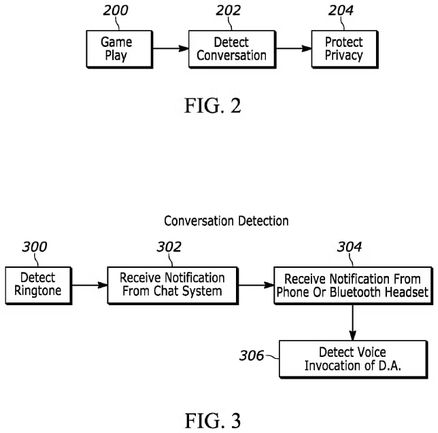
Sony đang làm việc trên một phần mềm bảo vệ sự riêng tư cho game thủ khi họ tiến hành cuộc gọi trong khi chơi game. Bằng cách phát hiện khi game thủ đang thực hiện cuộc gọi âm thanh hoặc video trong phiên chơi game và thiết lập biện pháp bảo vệ sự riêng tư của người chơi.
Sony và Sứ mệnh Bảo vệ Sự Riêng tư
Sony, một tập đoàn Nhật Bản được thành lập từ năm 1946, với sự hiện diện mạnh mẽ trong ngành công nghệ và game. Sony đã phát triển dòng máy chơi game PlayStation cùng những đổi mới trong lĩnh vực truyền hình, âm thanh và phần cứng máy tính. Gần đây, Sony đang tập trung nỗ lực nghiên cứu và phát triển phần mềm, bao gồm dự án bảo vệ sự riêng tư khi gọi điện thoại.
sony-call-support-privacy-patent-fig-2-3
Phần Mềm Bảo vệ Sự Riêng Tư của Sony
Theo bản quyền sở hữu mới được công bố, Sony đang làm việc để tạo ra phần mềm có thể phát hiện cuộc gọi đến và cung cấp biện pháp bảo vệ sự riêng tư cho game thủ. Điều này cho phép game thủ tiến hành cuộc gọi mà không cần phải thay đổi thủ công các kênh liên lạc trong game của họ, vì phần mềm sẽ tự động tắt microphone và làm mờ camera trên mặt game thủ. Như vậy, sự riêng tư của game thủ có thể được bảo vệ tốt hơn khỏi các game thủ khác sử dụng hệ thống liên lạc trong game.


