Phần Mềm Hạn Chế Tuổi Sony: Bảo Vệ Anh Em Game Thủ Nhí
Một bằng sáng chế mới của Sony đã chi tiết một hệ thống hạn chế tuổi sẽ khóa tài khoản PlayStation để ngăn trẻ em chơi game không phù hợp.
Giới Thiệu
Một bằng sáng chế mới của Sony đã chi tiết một hệ thống hạn chế tuổi sẽ khóa tài khoản PlayStation để ngăn trẻ em chơi game không phù hợp. Theo bằng sáng chế mới được công bố, Sony đang tiếp tục nỗ lực ngăn trẻ em tiếp cận nội dung có hạn chế tuổi bằng một hệ thống phần mềm khóa tài khoản. Một bằng sáng chế trước đó của Sony để chặn nội dung có hạn chế tuổi chỉ giới hạn trong trò chơi PlayStation VR, và bằng sáng chế mới này nhằm cung cấp các điều khiển cha mẹ tốt hơn trên toàn nền tảng.
sony-age-restriction-to-protect-children-patent-figure-3
Là một gã khổng lồ trong ngành công nghệ và game, Sony đã công bố một số bằng sáng chế độc đáo trong những năm gần đây, bao gồm cả phát triển cả phần cứng và phần mềm. Mặc dù rất ít trong số những ý tưởng được bảo hộ này đã được cung cấp cho người tiêu dùng, chúng mang lại cái nhìn sâu sắc vào những nỗ lực nghiên cứu hiện tại của Sony.
Hệ Thống Phần Mềm Hạn Chế Tuổi
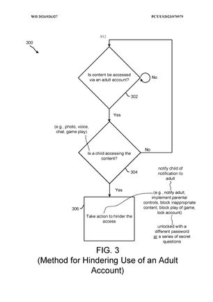
Được mô tả chi tiết trong một bằng sáng chế gần đây, Sony đang làm việc trên một phần mềm sẽ giúp xác định khi nào một trẻ em đang tiếp cận nội dung có hạn chế tuổi thông qua một tài khoản cha mẹ và khóa tài khoản để bảo vệ trẻ em khỏi nội dung không phù hợp. Một số bằng sáng chế phần mềm gần đây của Sony đã tập trung vào việc cải thiện trải nghiệm người chơi, như các chức năng người dùng cải tiến và các biện pháp an toàn. Phần mềm này sẽ cung cấp dữ liệu đầu vào, như trò chuyện giọng nói và văn bản và mẫu chơi game, vào một chương trình trí tuệ nhân tạo sẽ xác định xem các phong cách trò chuyện và chơi game có khả năng là của một trẻ em hay không. Nếu có, tài khoản sẽ bị khóa, một cảnh báo sẽ xuất hiện trên màn hình và một thông báo sẽ được gửi đến tài khoản cha mẹ.
Phần mềm này sẽ giúp ngăn trẻ em sử dụng các phương pháp né trò chơi có hạn chế tuổi trên tài khoản của cha mẹ, mặc dù không có sự đảm bảo rằng hệ thống này sẽ được triển khai.
Chi Tiết Bằng Sáng Chế Phần Mềm Hạn Chế Tuổi Của Sony
Phần mềm này dựa trên trí tuệ nhân tạo đọc dữ liệu người chơi và xác định khả năng hiện tại người dùng có phải là trẻ em hay không. Dữ liệu sẽ bao gồm ảnh hoặc video nếu có sử dụng camera, mẫu nói và cấu trúc ngữ pháp trong trò chuyện giọng nói và văn bản, cũng như những sự không đều trong cử động của nhân vật trong trò chơi. Ví dụ, một đứa trẻ chơi trò chơi có xếp hạng Mature có thể không biết hoặc hiểu các điều khiển và có thể di chuyển nhân vật một cách không đều và không ngờ đến. Trí tuệ nhân tạo sẽ nhận ra rằng điều này khác với người dùng thông thường và có thể xác định rằng người chơi có khả năng là trẻ em. Để ngăn chặn trẻ em có thể chơi trò chơi có hạn chế tuổi trên tài khoản của cha mẹ, phiên chơi game sẽ kết thúc và tài khoản sẽ bị khóa.
Mặc dù không có sự đảm bảo rằng phần mềm này sẽ được triển khai, nó phản ánh nỗ lực của Sony trong việc bảo vệ người chơi trẻ.
Kết Luận
Trong khi các trò chơi điện tử tiếp tục đến với những đối tượng người chơi mới qua các thế hệ, các công ty như Sony đang nỗ lực làm cho trò chơi điện tử trở nên dễ tiếp cận hơn đối với người chơi ở mọi lứa tuổi. Trò chơi trực tuyến dành cho trẻ em vẫn còn phổ biến, và cha mẹ thường lo lắng về an toàn. Mặc dù phần mềm hạn chế tuổi của Sony này chưa có xác nhận chính thức về việc triển khai công cộng, nó thể hiện nhu cầu ngày càng tăng về các biện pháp cải thiện để bảo vệ trẻ em trong khi cho phép họ thưởng thức trò chơi điện tử.


